一、注塑机的工作原理 注塑成型是利用塑料的热物理性质,把物料从料斗加入料筒中,料筒外由加热圈加热,使物料熔融,在料筒内装有在外动力马达作用下驱动旋转的螺杆,物料在螺杆的作用下,沿着螺槽向前输送并压实,物料在外加热和螺杆剪切的双重作用下逐渐地塑化,熔融和均化,当螺杆旋转时,物料在螺槽摩擦力及剪切力的作用下,把已熔融的物料推到螺杆的头部,与此同时,螺杆在物料的反作用下后退,使螺杆头部形成储料空间,完成塑化过程,然后,螺杆在注射油缸的活塞推力的作用下,以高速、高压,将储料室内的熔融料通过喷嘴注射到模具的型腔中,型腔中的熔料经过保压、冷却、固化定型后,模具在合模机构的作用下,开启模具,并通过顶出装置把定型好的制品从模具顶出落下。

图1 注塑机工作程序框图 按合模部件与注射部件配置的型式有卧式、立式、角式三种。
(1)卧式注塑机:卧式注塑机是最常用的类型。其特点是注射总成的中心线与合模总成的中心线同心或一致,并平行于安装地面。它的优点是重心低、工作平稳、模具安装、操作及维修均较方便,模具开档大,占用空间高度小;但占地面积大,大、中、小型机均有广泛应用。
(2)立式注塑机:其特点是合模装置与注射装置的轴线呈一线排列而且与地面垂直。具有占地面积小,模具装拆方便,嵌件安装容易,自料斗落入物料能较均匀地进行塑化,易实现自动化及多台机自动线管理等优点。缺点是顶出制品不易自动脱落,常需人工或其它方法取出,不易实现全自动化操作和大型制品注射;机身高,加料、维修不便。 (3)角式注塑机:注射装置和合模装置的轴线互成垂直排列。根据注射总成中心线与安装基面的相对位置有卧立式、立卧式、平卧式之分:①卧立式,注射总成线与基面平行,而合模总成中心线与基面垂直;②立卧式,注射总成中心线与基面垂直,而合模总成中心线与基面平行。角式注射机的优点是兼备有卧式与立式注射机的优点,特别适用于开设侧浇口非对称几何形状制品的模具。
注塑机根据注射成型工艺要求是一个机电一体化很强的机种,主要由注射部件、合模部件、机身、液压系统、加热系统、控制系统、加料装置等组成。如图2所示。

图2 注塑机组成示意图 目前,常见的注塑装置有单缸形式和双缸形式,因不同的厂家、不同型号的机台其组成也不完全相同。
工作原理是:预塑时,在塑化部件中的螺杆通过液压马达驱动主轴旋转,主轴一端与螺杆键连接,另一端与液压马达键连接,螺杆旋转时,物料塑化并将塑化好的熔料推到料筒前端的储料室中,与此同时,螺杆在物料的反作用下后退,并通过推力轴承使推力座后退,通过螺母拉动活塞杆直线后退,完成计量,注射时,注射油缸的杆腔进油通过轴承推动活塞杆完成动作,活塞的杆腔进油推动活塞杆及螺杆完成注射动作。 
图3 卧式机双缸注射注塑装置示意图
(a)是俯视图; (b)为注射座与导杆支座间的平视图1-油压马达;2,6 -导杆支座;3-导杆;4-注射油缸;5-加料口;7-推力座;8-注射座;9-塑化部件;10-座移油缸 
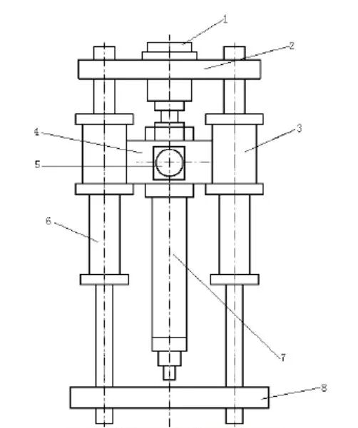
图4 立式注塑机注射装置示意图 1- 液压马达;2-推力座;3-注射油缸;4-注射座;5-加料口;6-座移油缸;7-塑化部件;8-上范本
塑化部件有柱塞式和螺杆式两种,下面就对螺杆式做一下介绍。螺杆式塑化部件如图5所示,主要由螺杆、料筒、喷嘴等组成,塑料在旋转螺杆的连续推进过程中,实现物理状态的变化,最后呈熔融状态而被注入模腔。因此,塑化部件是完成均匀塑化,实现定量注射的核心部件。 
1-喷嘴;2-螺杆头;3-止逆环;4-料筒;5-螺杆;6-加热圈;7-冷却水圈
螺杆式塑化部件的工作原理:预塑时,螺杆旋转,将从料口落入螺槽中的物料连续地向前推进,加热圈通过料筒壁把热量传递给螺槽中的物料,固体物料在外加热和螺杆旋转剪切双重作用下,并经过螺杆各功能段的热历程,达到塑化和熔融,熔料推开止逆环,经过螺杆头的周围通道流入螺杆的前端,并产生背压,推动螺杆后移完成熔料的计量,在注射时,螺杆起柱塞的作用,在油缸作用下,迅速前移,将储料室中的熔体通过喷嘴注入模具。 ④螺杆在塑化和注射时,均要发生轴向位移,同时螺杆又处于时转时停的间歇式工作状态,因此形成了螺杆塑化过程的非稳定性。 螺杆是塑化部件中的关键部件,和塑料直接接触,塑料通过螺槽的有效长度,经过很长的热历程,要经过3态(玻璃态、黏弹态、黏流态)的转变,螺杆各功能段的长度、几何形状、几何参数将直接影响塑料的输送效率和塑化质量,将最终影响注射成型周期和制品质量。 ⑤ 注射螺杆工作时,塑化能力和熔体温度将随螺杆的轴向位移而改变。 注塑螺杆按其对塑料的适应性,可分为通用螺杆和特殊螺杆,通用螺杆又称常规螺杆,可加工大部分具有低、中黏度的热塑性塑料,结晶型和非结晶型的民用塑料和工程塑料,是螺杆最基本的形式,与其相应的还有特殊螺杆,是用来加工用普通螺杆难以加工的塑料;按螺杆结构及其几何形状特征,可分为常规螺杆和新型螺杆,常规螺杆又称为三段式螺杆,是螺杆的基本形式,新型螺杆形式则有很多种,如分离型螺杆、分流型螺杆、波状螺杆、无计量段螺杆等。
常规螺杆其螺纹有效长度通常分为加料段(输送段)、压缩段(塑化段)、计量段(均化段),根据塑料性质不同,可分为渐变型、突变型和通用型螺杆。 ①渐变型螺杆:压缩段较长,塑化时能量转换缓和,多用于PVC等热稳定性差的塑料。 ②突变型螺杆:压缩段较短,塑化时能量转换较剧烈,多用于聚烯烃、PA等结晶型塑料。 ③通用型螺杆:适应性比较强的通用型螺杆,可适应多种塑料的加工,避免更换螺杆频繁,有利于提高生产效率。 
螺杆的基本结构如图6所示,主要由有效螺纹长度L和尾部的连接部分组成。 
ds — 螺杆外径,螺杆直径直接影响塑化能力的大小,也就直接影响到理论注射容积的大小,因此,理论注射容积大的注塑机其螺杆直径也大。
L/ds —螺杆长径比。L是螺杆螺纹部分的有效长度,螺杆长径比越大,说明螺纹长度越长,直接影响到物料在螺杆中的热历程,影响吸收能量的能力,而能量来源有两部分:一部分是料筒外部加热圈传给的,另一部分是螺杆转动时产生的摩擦热和剪切热,由外部机械能转化的,因此,L/ds直接影响到物料的熔化效果和熔体质量,但是如果L/ds太大,则传递扭矩加大,能量消耗增加。 L1—加料段长度。加料段又称输送段或进料段,为提高输送能力,螺槽表面一定要光洁,L1的长度应保证物料有足够的输送长度,因为过短的L1会导致物料过早的熔融,从而难以保证稳定压力的输送条件,也就难以保证螺杆以后各段的塑化质量和塑化能力。塑料在其自身重力作用下从料斗中滑进螺槽,螺杆旋转时,在料筒与螺槽组成的各推力面摩擦力的作用下,物料被压缩成密集的固体塞螺母,沿着螺纹方向做相对运动,在此段,塑料为固体状态,即玻璃态。 h1—加料段的螺槽深度。h1深,则容纳物料多,提高了供料量和塑化能力,但会影响物料塑化效果及螺杆根部的剪切强度,一般h1≈(0.12~0.16)ds。 L3 — 熔融段长度。熔融段又称均化段或计量段,熔体在L3段的螺槽中得到进一步的均化,温度均匀,组分均匀,形成较好的熔体质量,L3长度有助于熔体在螺槽中的波动,有稳定压力的作用,使物料以均匀的料量从螺杆头部挤出,所以又称计量段。L3短时,有助于提高螺杆的塑化能力,一般L3=(4~5)ds。 h3 — 熔融段螺槽深度,h3小,螺槽浅,提高了塑料熔体的塑化效果,有利于熔体的均化,但h3过小会导致剪切速率过高,以及剪切热过大,引起分子链的降解,影响熔体质量,;反之,如果h3过大,由于预塑时,螺杆背压产生的回流作用增强,会降低塑化能力。 L2 — 塑化段(压缩段)螺纹长度。物料在此锥形空间内不断地受到压缩、剪切和混炼作用,物料从L2段入点开始,熔池不断地加大,到出点处熔池已占满全螺槽,物料完成从玻璃态经过黏弹态向黏流态的转变,即此段,塑料是处于颗粒与熔融体的共存状态。L2的长度会影响物料从玻璃态到黏流态的转化历程,太短会来不及转化,固料堵在L2段的末端形成很高的压力、扭矩或轴向力;太长则会增加螺杆的扭矩和不必要的消耗,一般L2=(6~8)ds。对于结晶型的塑料,物料熔点明显,熔融范围窄,L2可短些,一般为(3~4)ds,对于热敏性塑料,此段可长些。 S — 螺距,其大小影响螺旋角,从而影响螺槽的输送效率,一般S≈ds。
ε —压缩比。ε=h1/h3,即加料段螺槽深度h1与熔融段螺槽深度h3之比。ε大,会增强剪切效果,但会减弱塑化能力,一般来讲,ε稍小一点为好,以有利于提高塑化能力和增加对物料的适应性,对于结晶型塑料,压缩比一般取2.6~3.0。对于低黏度热稳定性塑料,可选用高压缩比;而高黏度热敏性塑料,应选用低压缩比。 在注射螺杆中,螺杆头的作用是:预塑时,能将塑化好的熔体放流到储料室中,而在高压注射时,又能有效地封闭螺杆头前部的熔体,防止倒流。 螺杆头分为两大类,带止逆环的和不带止逆环的,对于带止逆环的,预塑时,螺杆均化段的熔体将止逆环推开,通过与螺杆头形成的间隙,流入储料室中,注射时,螺杆头部的熔体压力形成推力,将止逆环退回流道封堵,防止回流。 
对于有些高黏度物料如PMMA、PC、AC或者热稳定性差的物料PVC等,为减少剪切作用和物料的滞留时间,可不用止逆环,但这样的注射时会产生反流,延长保压时间。 对螺杆头的要求:② 止逆环与料筒配合间隙要适宜,即要防止熔体回流,又要灵活;③ 既有足够的流通截面,又要保证止逆环端面有回程力,使在注射时快速封闭;⑤ 螺杆头的螺纹与螺杆的螺纹方向相反,防止预塑时螺杆头松脱。
(3)料筒
料筒是塑化部件的重要零件,内装螺杆外装加热圈,承受复合应力和热应力的作用,结构如图7: 
螺孔3装热电偶,要与热电偶紧密地接触,防止虚浮,否则会影响温度测量精度。 加料口的结构形式直接影响进料效果和塑化部件的吃料能力,注塑机大多数靠料斗中物料的自重加料,常用的进料口截面形式如图8所示:对称形料口如图8(a),制造简单,但进料不利;现多用非对称形式,如图8(b)、8(c)所示,此种进料口由于物料与螺杆的接触角大,接触面积大,有利于提高进料效率,不易在料斗中开成架桥空穴。

(ⅲ)料筒的壁厚 料筒壁厚要求有足够的强度和刚度,因为料筒内要承受熔料和气体压力,且料筒长径比很大,料筒要求有足够的热容量,所以料筒壁要有一定的厚度,否则难以保证温度的稳定性;但如果太厚,料筒笨重,浪费材料,热惯性大,升温慢,温度调节有较大的滞后现象。 料筒间隙指料筒内壁与螺杆外径的单面间隙,此间隙太大,塑化能力降低,注射回泄量增加,注射时间延长,在此过程中引起物料部分降解;如果太小,热膨胀作用使螺杆与料筒摩擦加剧,能耗加大,甚至会卡死,此间隙Δ=(0.002~0.005)ds。 注塑机料筒加热方式有电阻电热、陶瓷加热、铸铝加热,应根据使用场合和加工物料合理设置,常用的有电阻加热和陶瓷加热,为符合注塑工艺要求,料筒要分段控制,小型机3段,大型机一般5段。 冷却是指对加料口处进行冷却,因加料口处若温度过高,固料会在加料口处“架桥”,堵塞料口,从而影响加料段的输送效率,故在此处设置冷却水套对其进行冷却。我厂是通过冷却循环水对加料口进行冷却的。 喷嘴是连接塑化装置与模具流道的重要部件,喷嘴有多种功能: ① 预塑时,建立背压,驱除气体,防止熔体流涎,提高塑化能力和计量精度; ② 注射时,与模具主浇套形成接触压力,保持喷嘴与浇套良好接触,形成密闭流道,防止塑料熔体在高压下外溢; ③ 注射时,建立熔体压力,提高剪切应力,并将压力头转变成速度头,提高剪切速度和温升,加强混炼效果和均化作用; ④ 改变喷嘴结构使之与模具和塑化装置相匹配,组成新的流道型式或注塑系统; ⑥ 减小熔体在进出口的粘弹效应和涡流损失,以稳定其流动; ⑦ 保压时,便于向模具制品中补料,而冷却定型时增加回流阻力,减小或防止模腔中熔体向回流。 喷嘴可分为直通式喷嘴、锁闭式喷嘴、热流道喷嘴和多流道喷嘴,现阶段我厂用的都是直通式喷嘴。 直通式喷嘴是应用较普遍的喷嘴,其特点是喷嘴球面直接与模具主浇套球面接触,喷嘴的圆弧半径和流道比模具要小,注射时,高压熔体直接经模具的浇道系统充入模腔,速度快、压力损失小,制造和安装均较方便。 锁闭式喷嘴主要是解决直通式喷嘴的流涎问题,适用于低黏度聚合物(如PA)的加工。在预塑时能关闭喷嘴流道,防止熔体流涎现象,而当注射时又能在注射压力的作用下开启,使熔体注入模腔。 其工作原理是:注射油缸进油时,活塞带动活塞杆及其置于推力座内的轴承,推动螺杆前进或后退。通过活塞杆头部的螺母,可以对两个平行活塞杆的轴向位置以及注射螺杆的轴向位置进行同步调整。 注射时,推力座通过推力轴推动螺杆进行注射;而预塑时,通过油马达驱动推力轴带动螺杆旋转实现预塑。
当座移油缸进油时,实现注射座的前进或后退动作,并保证注塑喷嘴与模具主浇套圆弧面紧密地接触,产生能封闭熔体的注射座压力。
装配后,整体注射部件要置于机架上,必须保证喷嘴与模具主浇套紧密地接合,以防溢料,要求使注射部件的中心线与其合模部件的中心线同心;为了保证注射螺杆与料筒内孔的配合精度,必须保证两个注射油缸孔与料筒定位中心孔的平行度与中心线的对称度;对卧式机来讲,座移油缸两个导向孔的平行度和对其中心的对称度也必须保证,对立式机则必须保证两个座移油缸孔与料筒定位中心孔的平行度与中心线的对称度。影响上述位置精度的因素是相关联部件孔与轴的尺寸精度、几何精度、制造精度与装配精度。 来源于网络|侵删
广东智展展览有限公司 (国际展览业协会(UFI)中国区成员,广东会展组展企业协会副会长单位,中国十佳品牌组展商)

关注公众号“pmccac-expo”
|